电话: 152 3172 9568
Technical Parameters



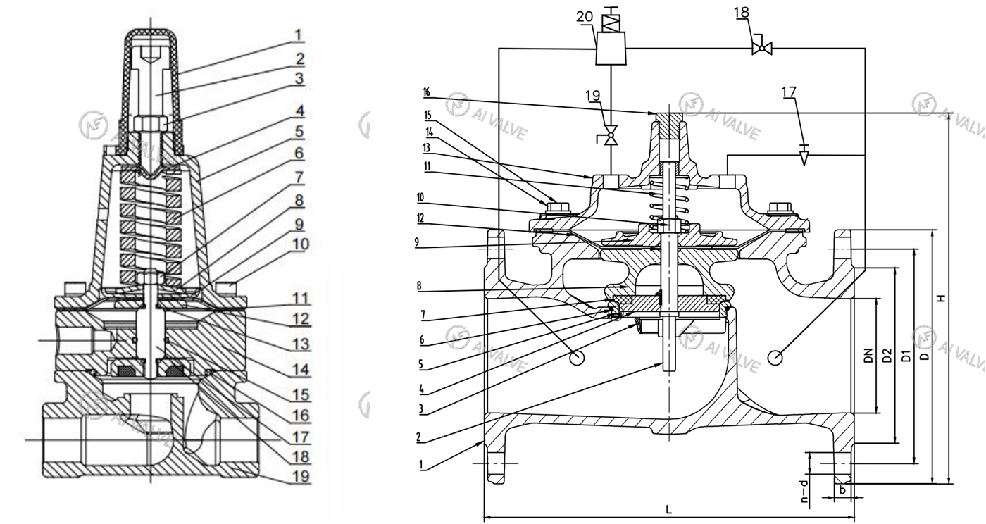
Product Description
该阀由主阀及外装控制导阀组成。主要安装于建筑物被保护给水系统的旁路中,保障主阀上游供水区的压力,当给水管中压力超过泄压阀设定压力 时,泄压阀开启,防止管线及设备因超压而损坏。该阀主要用于高层建筑消防测试循环系统的泄压,是弹簧式安全阀的升级换代产品。
· 双阀联动:主阀(承压主体)+ 外置先导控制阀(压力传感)
· 旁路安装:并联于主管道,不影响主系统运行
· 精准泄压:设定压力范围0.5-4.0MPa(精度±1.5%)
· 超压保护:开启响应时间≤0.3秒,泄流量达系统流量的120%
· 自动复位:压力回落至设定值95%时自动关闭
· 水锤控制:分级泄压设计,峰值压力削减60%
· 高层建筑消防系统:保护泵组/管道(工作压力≤2.5MPa)
· 工业循环水系统:替代传统弹簧安全阀,维护成本降40%
我们的优势
联系我们
我们的团队在项目的每个阶段都与您合作。
导航
导航
联系我们
专家阀门建议 直接发送到您的邮箱
我们将通过电子邮件向您发送专门为您量身定制的计划。